* Povrat robe 15 dana
* Dostava za 1-3 radna dana
* Plaćanje pouzećem, karticom, preko računa
* Plaćanje u 6 rata
* Sve prikazane cene su sa uračunatim PDV-om
* Registrujte se i ostvarite dodatne popuste i pogodnosti na određene artikle
Postavite pitanje o ovom proizvodu
Znate li uvek ko kuca na vaša vrata?
Bežični interfon sa telefonom menja način na koji kontrolišete pristup svom domu – više ne morate trčati do vrata svaki put kad neko pozvoni, niti otvarati pre nego što znate ko stoji ispred.
Zamislite ovo: kasno popodne, upravljate večerom, deca su u sobi, a zvono zvoni. Ko je? Komšija, dostavljač, ili neko nepoznat? Ranije ste morali da obrišete ruke, prođete kroz hodnik i tek onda pogledate kroz špijunku – ili, što je još gore, samo otvorite. Danas je ta nesigurnost prošlost. Sada ostajete tamo gde jeste, pogledate u slušalicu ili ekran, čujete glas i odlučite – da li otvarate ili ne.
Jedno uređaj, mirna kuca
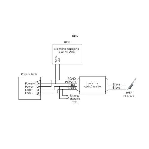
Zahvaljujući bežičnoj tehnologiji prenosa signala, nema potrebe za bušenjem zidova ili angažovanjem električara – postavite ga sami za manje od sat vremena. Zahvaljujući dvosmjernoj glasovnoj komunikaciji, svaka razmena reči sa posetiocem jasna je i bez šumova, čak i kada ste na drugom kraju stana. Zahvaljujući napajanju putem baterija ili adoptera, interfon radi pouzdano čak i tokom kratkih nestanaka struje. Sistem podržava povezivanje sa više internih jedinica, što ga čini prikladnim i za veće stambene površine ili dvospratne objekte. Domet bežičnog signala pokriva prosečnu stambenu površinu bez prekida veze, a diskretni dizajn spoljne jedinice odgovara svakom ulazu.
- Postavite bez alata – bežična instalacija znači da ne bušite zidove i ne zovete majstora; sve je gotovo za jedan popodne.
- Čujte svaku reč jasno – dvosmerna komunikacija bez šumova čini razgovor sa posetiocem prirodnim, kao da stojite pored njega.
- Kontrolišite pristup iz svake sobe – interna slušalica ili monitor radi kao bežični telefon, pa ostajete mobilni unutar doma.
- Povežite više unutrašnjih jedinica – idealno za spratne kuće ili kancelarije gde više osoba treba pristup interfonskom sistemu.
- Radi i pri nestanku struje – baterijsko napajanje na pojedinim modelima osigurava da nikad ne ostanete bez komunikacije u ključnom trenutku.
- Dugotrajan signal u celom stanu – bežični domet do 300 metara na otvorenom prostoru eliminiše mrtve zone unutar tipičnog stambenog objekta.
- Diskretna spoljna jedinica – kompaktno kućište otporno na vremenske uslove ne narušava izgled vašeg ulaza, a traje godinama bez korozije.
Vaša odluka, vaš ritam
Bežični interfon sa telefonom nije samo tehnički uređaj – to je svakodnevna rutina u kojoj se vi osećate sigurno i smirzeno. Naručite danas, instalirajte sami još iste večeri i od sutra znate tačno ko je na pragu pre nego što se pomakni s mesta.
Najčešća pitanja (FAQ)
Da li mogu da instaliram bežični interfon sa telefonom sam, bez elektičara?
Da, instalacija je potpuno bežična i ne zahteva nikakve kablove između spoljne i unutrašnje jedinice. Spoljna jedinica se montira vijcima ili dvostrano lepljivom trakom, a unutrašnja se puni kao telefon. Većina korisnika završi postavljanje za 30 do 60 minuta, prateći priloženo uputstvo.
Koliko je jak signal – hoće li raditi u stanu od 100 kvadrata sa debelim zidovima?
Bežični domet iznosi do 300 metara na otvorenom prostoru, što u praksi znači stabilan signal u stanovima i kućama standardne gradnje do oko 80–120 kvadratnih metara. Ako imate posebno debele armirano-betonske zidove, preporučujemo postavljanje unutrašnje jedinice što bliže hodniku radi optimalnog prijema signala.
Kako mogu da povežem više slušalica ako imam dvospratnu kuću?
Sistem podržava proširenje sa dodatnim unutrašnjim jedinicama koje se kupuju zasebno i jednostavno sparuju sa spoljnom stanicom. Na taj način svaki sprat ili svaka soba može imati sopstvenu slušalicu – i upravo zato naši kupci sa većim objektima najčešće biraju ovaj model.
Kada mogu da očekujem isporuku nakon narudžbine?
Porudžbine primljene radnim danom do 14 časova šaljemo isti dan, a isporuka kurirskom službom sledi u roku od 1 do 3 radna dana za celu teritoriju. Nakon otpreme dobijate broj za praćenje pošiljke putem SMS-a ili e-pošte.
Koja je garancija i šta radim ako uređaj ne radi ispravno?
Na svaki bežični interfon sa telefonom pružamo 24-mesečnu garanciju u skladu sa zakonskim propisima. Ako uređaj pokaže grešku u tom periodu, kontaktirajte nas, a mi organizujemo zamenu ili povrat novca bez komplikacija – troškove slanja snosi prodavac.
Je li moguće koristiti interfon noću ili po lošem vremenu – kiši i hladnoći?
Spoljna jedinica ima zaštitu od prskanja vode i projektovana je za temperaturni opseg od -10°C do +50°C, što je više nego dovoljno za sve četiri godišnja doba u našem podneblju. Noćna upotreba nije problem jer komunikacija funkcioniše čisto bez obzira na osvetljenost okoline.
| Specifikacija | |
| Brend | TEH-TEL |
| Dimenzije | 159.3x48.4x28.9 mm (telefon), 176.5x60x34 mm (spoljna jedinica) |
| Interkom funkcija | Da |
| Materijal kućišta | Plastika |
| Napajanje | 12 V (spoljna jedinica) |
| Spoljna jedinica | 1 kom. |
| Unutrašnja jedinica | 1 kom. |
| Veza između jedinica | Bežična |
